BW Logo groß- Kopie
Fahrradabstellanlage

Fahrradabstellanlage aus verzinkten Stahlprofilen. Als Reihenanlage im 65er Raster konzipiert.

Produktentwicklung und Design


Fahrradabstellanlage


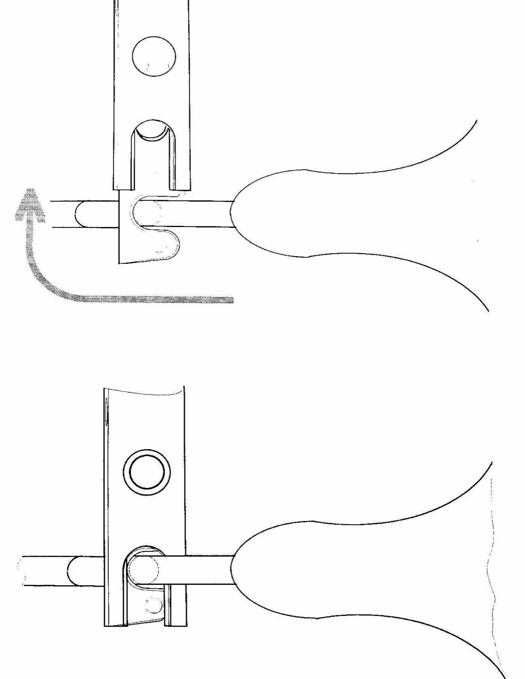
Fahrradhalterung, wahlweise mit eingebautem Schloss.

Ständer aus verzinkten Stahlprofilen, Halterung aus Stahl und Gummi, Schiebeführung aus Nylon.


Einfache Handhabung:

Das Fahrrad in die Halterung schieben

und schon steht es standsicher und kann mit einem vorhandenen oder mitgebrachten Fahrradschloss gesichert werden.

© BRUNO WINTER

Impressum

Kontakt